当前位置: 主页 > 最新资讯
最新资讯

前沿汽车技术风向:从注意力共享到车内支付

发布时间:2026-03-31人气:

本期全球前沿汽车技术动向如下,如需更具体的内容与分析解读,欢迎订购本站研究院《全球前瞻技术情报》。

【全球汽车新技术观察】11月下期〡HERE推出业内首个SDV成熟度框架;博世牵头ConnRAD项目,推动互联自动驾驶的安全韧性提升;日本研发碳电极,实现1Wh级叠层锂空气电池稳定运行

智能网联

Seeing Machines发布注意力共享功能 强化商用车队的分心检测能力

Seeing Machines在其Guardian Gen 3系统中加入“注意力共享”功能,可检测传统监控难以识别的细微分心,并通过累计视线离路时间判断潜在风险。系统在视线偏移累积达阈值前发出警告,降低驾驶分心带来的隐患。

【全球汽车新技术观察】11月下期〡HERE推出业内首个SDV成熟度框架;博世牵头ConnRAD项目,推动互联自动驾驶的安全韧性提升;日本研发碳电极,实现1Wh级叠层锂空气电池稳定运行

图片来源: Seeing Machines

该功能已在新设备上启用,并通过无线方式推送至已部署车队。系统实时追踪眼球方向,仅在确有风险时提醒驾驶员,同时事件会同步上传至车队平台,方便企业管理安全状况。

盖世点评:该功能让分心检测从“看到低头”升级为“理解注意力流失”,实用性更强。

美光推出汽车级UFS 1闪存 支撑智能汽车的高速数据需求

美光UFS 1正式提供认证样品,其带宽达2 GB/s,可满足智能座舱、ADAS与自动驾驶系统的大数据读写需求,并加速AI模型的调用与更新。

【全球汽车新技术观察】11月下期〡HERE推出业内首个SDV成熟度框架;博世牵头ConnRAD项目,推动互联自动驾驶的安全韧性提升;日本研发碳电极,实现1Wh级叠层锂空气电池稳定运行

图片来源: 美光

产品基于G9 NAND工艺,具备耐高温、高耐久与快速启动特性,同时符合车规安全与功能安全要求。其实时监测能力也支持车队的预测性维护与健康管理。

盖世点评:UFS 1以高速与高耐久支撑智能汽车对存储的全面升级需求。

Qt Group发布汽车安全代码检查工具

Qt Group在Axivion 11中加入CUDA安全规则自动检查功能,使GPU加速应用的开发者能够快速验证代码是否符合安全规范。该工具面向自动驾驶、医疗、工业等对软件可靠性要求极高的行业。

新版本可自动检测死代码、重复结构与安全违规情况,并生成可追溯的审计记录,帮助开发团队在开发初期发现风险,从而提升代码一致性和安全性。这些能力也有助于满足ISO 26262等合规要求。

盖世点评:代码安全从“人工检查”迈向“自动规范”,提升研发效率。

Trimble扩展互联解决方案集成 应对运输行业挑战

Trimble扩大其互联解决方案布局,引入Fleet Hub、Freight Marketplace及加油验证集成等工具,以解决驾驶员流失、采购效率低和数字化转型难题。

Fleet Hub提升前后端沟通效率,帮助调度与车队保持实时连接,改善驾驶员体验;而Freight Marketplace则连接托运人与承运商,通过AI审核提升采购透明度。燃油配送环节也通过新集成减少空跑风险。

盖世点评:Trimble用互联平台将传统运输运营带入更高效的新模式。

Sinclair Technologies发布SM 5G系列多频天线

Sinclair推出SM714和SM2601系列天线,面向车队管理、公共交通与关键任务通信场景。产品集成5G/LTE、Wi-Fi与多频GNSS,为移动场景提供高可靠定位与连接能力。

【全球汽车新技术观察】11月下期〡HERE推出业内首个SDV成熟度框架;博世牵头ConnRAD项目,推动互联自动驾驶的安全韧性提升;日本研发碳电极,实现1Wh级叠层锂空气电池稳定运行

图片来源: Sinclair Technologies

SM714采用紧凑外形,适合车辆与移动物联网部署;SM2601则为铁路和公共交通设计,具备五端口配置并支持MIMO操作,可提升通信吞吐与冗余性。

盖世点评:多频一体化天线满足车队与交通系统对高可靠通信的核心需求。

Iteris推出公交与紧急车辆优先系统VantagePriority

Iteris发布VantagePriority,将公交信号优先(TSP)与紧急车辆优先(EVP)功能整合到现有Vantage CV平台中,帮助城市在关键车辆通行时减少延误。

系统依托云架构实现实时响应,并为交通部门提供数据分析能力,可用于评估通行时间节省与系统表现。现有设备可无缝集成,降低部署成本。

盖世点评:把优先放行与智能检测结合,是智慧交通从“能看”到“会调度”的关键一步。

HERE推出业内首个SDV成熟度框架

HERE携手Omdia发布数据驱动的软件定义车辆成熟度框架,明确行业从硬件主导向软件主导转型的四个阶段,并为OEM提供统一的评估体系。

【全球汽车新技术观察】11月下期〡HERE推出业内首个SDV成熟度框架;博世牵头ConnRAD项目,推动互联自动驾驶的安全韧性提升;日本研发碳电极,实现1Wh级叠层锂空气电池稳定运行

图片来源: HERE

框架基于全球647位专家调研,覆盖从互联基础能力到高级订阅服务和生态协作的演进路线,同时强调消费者体验、隐私与开放合作的重要性。HERE计划将其提交SAE ITC作为行业标准参考。

盖世点评:SDV急需通用话语体系,这一框架为行业提供了清晰的统一坐标。

Verra Mobility推出AutoKinex车载支付平台

Verra Mobility发布AutoKinex,为车辆提供可直接在车内完成通行费、停车费与充电费支付的统一平台,无需额外硬件或App。

系统可自动识别车辆位置并匹配收费标准,支付过程安全透明,并已在Stellantis车型中率先落地。车主可通过专用网站注册,并获得免费试用和电子标签支持。

盖世点评:统一支付平台为车企打开了“车内支付”这一全新服务入口。

福特申请可移动前部护栏专利,提升行人保护

福特提出一种可在碰撞前向外展开的前部防护装置专利,用于SUV与皮卡等高前端车型,通过扩大接触面积来降低行人伤害。

该装置位于保险杠后方,在需要时前移并向下延展,弥补高车头对行人造成的冲击盲区。福特称其专利仅为探索,不代表产品规划。

盖世点评:移动式前护栏思路新颖,针对大型车的行人保护给出新方向。

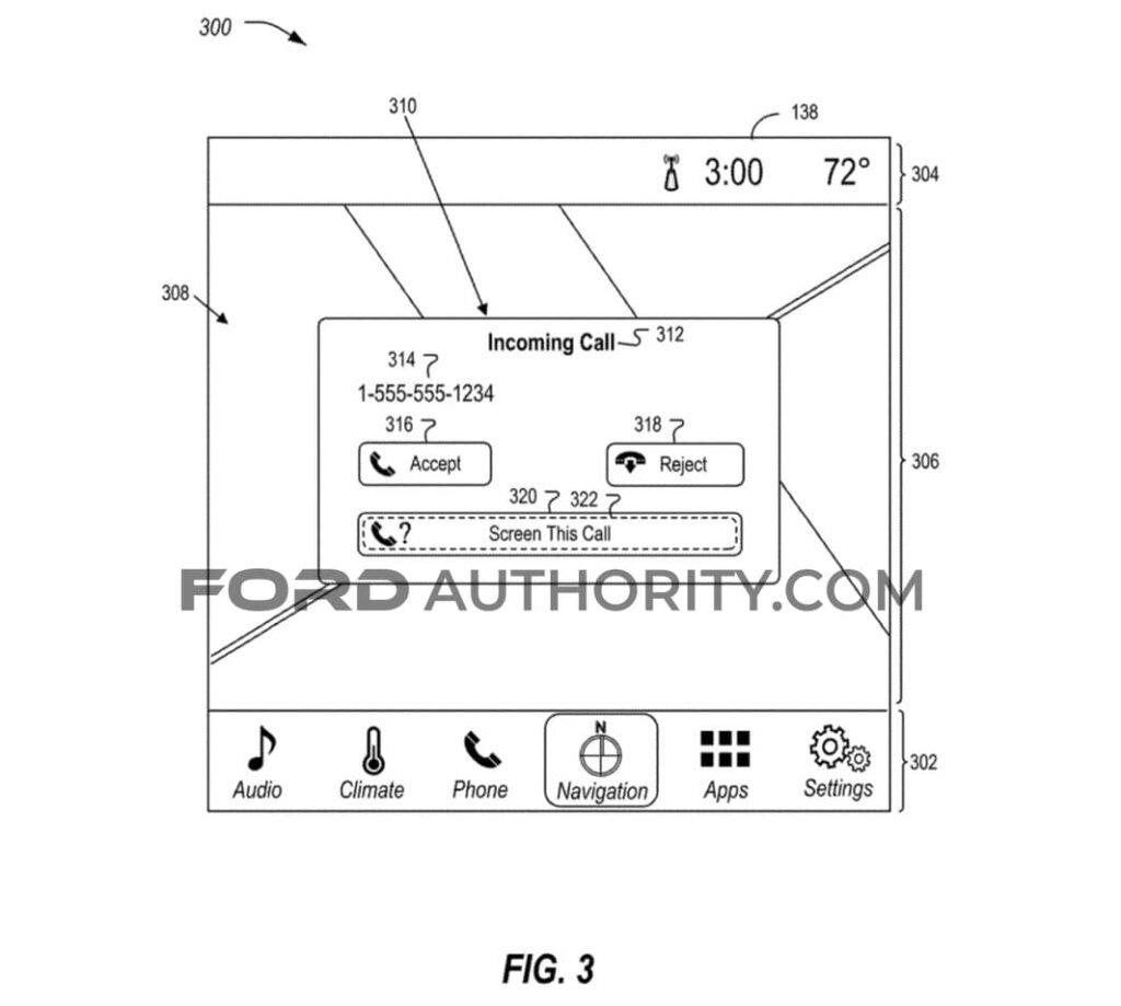
福特申请车载电话筛选系统专利

福特提交一项电话筛选系统专利,可依据车辆运行状态、道路环境与用户认知负荷,自动决定是否屏蔽来电或设置默认处理方式。

【全球汽车新技术观察】11月下期〡HERE推出业内首个SDV成熟度框架;博世牵头ConnRAD项目,推动互联自动驾驶的安全韧性提升;日本研发碳电极,实现1Wh级叠层锂空气电池稳定运行

图片来源: USPTO

系统可在驾驶压力较高时自动阻断干扰,并在负荷较低时向驾驶员展示来电信息,提升驾驶安全性与体验。福特表示其专利不代表立即量产。

盖世点评:让电话干扰“智能可控”,是车内人机体验安全化的又一步。

福特申请隐藏物体检测系统专利

福特提交一项隐藏物体检测系统专利,利用车辆摄像头与传感器识别传统视野下看不见的障碍物。系统可在摄像头被遮挡时,通过多张图像生成合成画面。

当车辆停在家中车道或车库时,系统还能调取历史图像并与实时画面比对,判断是否出现新物体并提前提醒驾驶者,降低倒车及出库风险。

盖世点评:用图像比对补齐“看不见”的区域。

AUTOCRYPT将在CES 2026发布下一代汽车安全方案

AUTOCRYPT将在CES 2026展示面向未来的全套汽车安全技术,包括端到端车辆密钥管理、互联出行安全以及AI驱动的车辆生命周期管理。

【全球汽车新技术观察】11月下期〡HERE推出业内首个SDV成熟度框架;博世牵头ConnRAD项目,推动互联自动驾驶的安全韧性提升;日本研发碳电极,实现1Wh级叠层锂空气电池稳定运行

图片来源: AUTOCRYPT

其方案覆盖数字钥匙、V2X、PnC充电及AI自动化风险评估,支持OEM在全球法规下实现整车安全合规,并通过云端平台实现更高效的测试与验证。

盖世点评:重点是把密钥、通信与生命周期安全整合成一体化方案。

SoundHound AIParkopedia推出语音AI停车搜索与支付代理

SoundHound AI与Parkopedia扩大合作,将后者覆盖全球2万多个城市、超9000万个停车位的数据库整合进车载语音商务平台。驾驶员只需发出指令,即可用语音完成查找停车、比较价格到支付的一整套流程。

全新的AI助手还能主动给出推荐,如提醒目的地停车紧张、推送首小时免费等信息,并提供实时车位状态与费用选项。示例场景显示,系统能够在导航、查找、预订与付款之间实现连续的自然对话体验。

盖世点评:语音把停车从“找”变成“问一句就行”。

特斯拉上线车内雷达遮挡警报 提醒风险并影响部分功能

特斯拉在20232更新中加入车内雷达遮挡警报,当车顶灯区域被物体遮住时,系统会提示用户移除遮挡。车内雷达正用于乘员检测与更精细的安全功能配置。

【全球汽车新技术观察】11月下期〡HERE推出业内首个SDV成熟度框架;博世牵头ConnRAD项目,推动互联自动驾驶的安全韧性提升;日本研发碳电极,实现1Wh级叠层锂空气电池稳定运行

图片来源:notateslaapp.com

若雷达被遮挡,可能影响安全带识别、自动驻车制动等功能。该功能目前主要出现在新款Model 3/Y,将在更多车型中扩展。

盖世点评:提醒用户“别挡着雷达”,本质是为安全功能兜底。

自动驾驶

博世牵头ConnRAD项目 推动互联自动驾驶的安全韧性提升

博世联合多家机构开展为期三年的ConnRAD项目,目标是在数据不完整或质量不稳定的情况下仍能保证自动驾驶系统的可信度。项目重点关注互联通信的可靠性评估,提出了面向V2X的验证机制。

【全球汽车新技术观察】11月下期〡HERE推出业内首个SDV成熟度框架;博世牵头ConnRAD项目,推动互联自动驾驶的安全韧性提升;日本研发碳电极,实现1Wh级叠层锂空气电池稳定运行

图片来源: 博世

团队构建了一套可量化数据质量的架构,使车辆能判断通信信息是否可用于安全相关场景,如城市左转、拥堵尾部风险等。此外,硬件指纹认证、带宽优化与预测机制进一步增强了系统的整体韧性。

盖世点评:ConnRAD为互联自动驾驶补上“数据可信”这一关键环节,意义深远。

中科院开发人工传感神经元 支持多色近红外识别与高精度检测

中科院团队基于V2C/V2O5-x异质结构构建人工传感神经元,可响应多色近红外信号并进行阈值型调控,实现高精度物体识别。器件具备稳定的易失性行为,其阈值电压可随波长调制。

【全球汽车新技术观察】11月下期〡HERE推出业内首个SDV成熟度框架;博世牵头ConnRAD项目,推动互联自动驾驶的安全韧性提升;日本研发碳电极,实现1Wh级叠层锂空气电池稳定运行

图片来源: 期刊《Advanced Materials》

在YOLOv7模型辅助下,系统在FLIR数据集上实现对车辆与行人的高识别精度,为自动驾驶与智能机器人提供新型传感方案。该研究展示了忆阻器神经形态器件在多光谱感知上的潜力。

盖世点评:该人工神经元让红外感知从“探测”走向“识别”,对未来感知方式具有启发性。

福特申请照明辅助遥控泊车专利 优化低光环境下的用户操作体验

福特申请一项照明辅助遥控泊车专利,通过在车辆周围或地面投射光线,让用户在黑暗或狭窄环境中更轻松地在车外完成泊车。系统可在操作启动后自动亮灯,增强周边可视性。

该方案是福特远程泊车布局的延伸,可结合传感器、GPS与移动终端操作,提高夜间使用体验。灯光还可作为提示信号,提高行人感知车辆状态的安全性。

盖世点评:简单的照明功能切中遥控泊车的痛点,为实用体验增添关键一环。

北理工开发仿生导航系统 机器人无需GPS即可穿越复杂环境

北京理工大学提出一种受自然启发的导航框架,可让机器人在洞穴、废墟等无GPS环境中保持稳定定位。系统融合昆虫路径积分、候鸟多传感器融合以及啮齿类的认知地图机制。

团队在多种机器人上测试,结果显示位置漂移下降41%、能量效率提升60%,在传感器发生故障时仍能快速恢复导航能力。该方法可用于搜救、深海任务、行星探索等极端环境。

盖世点评:将多种生物策略融合,让导航系统更接近真正的“自然智能”。

ParkopediaHyundai AutoEver展示欧洲首个车载室内导航系统

Parkopedia携手Hyundai AutoEver完成欧洲首个车载室内导航演示,可在停车场等无GPS环境实现精准导航,引导车辆抵达指定车位或充电位。

【全球汽车新技术观察】11月下期〡HERE推出业内首个SDV成熟度框架;博世牵头ConnRAD项目,推动互联自动驾驶的安全韧性提升;日本研发碳电极,实现1Wh级叠层锂空气电池稳定运行

图片来源: SoundHound AI

该系统基于高清3D点云地图,已覆盖欧洲多家机场、火车站与购物中心,并正向北美扩展。结合电动车充电信息,可提供从道路到车位的完整导航体验。

盖世点评:室内导航补齐“最后一百米”,是车载导航下一阶段的重要升级。

KIST提出新算法 让类脑芯片可实时解读神经连接

韩国KIST团队提出一种基于STDP学习原理的新算法,可像大脑一样根据神经元放电顺序调整连接强度,实现神经网络的实时解读。

该算法无需存储大量神经元历史数据,显著降低硬件内存需求,使神经形态芯片的处理速度最高提升20000倍,并可用于脑机接口、自动驾驶等需要实时信号分析的场景。

盖世点评:意义在于让神经形态硬件真正具备“实时学习”能力。

dSPACE联合豪威集团将摄像头模型引入AURELION仿真

dSPACE与豪威集团合作,将其图像传感器模型集成进AURELION物理仿真平台,以便在虚拟环境中更真实地模拟摄像头表现。

新模型可用于验证ADAS/AD在不同光照与天气下的感知稳定性,帮助开发者提前发现系统弱点,从而缩短开发周期和测试成本。

盖世点评:仿真从“能看”迈向“看得像现实”。

香港城市大学研发集成光子毫米波雷达芯片

香港城市大学开发全球首款集成光子毫米波雷达芯片,将信号生成与处理集成在一枚薄膜铌酸锂芯片上,实现超高分辨率且体积极小的雷达系统。

【全球汽车新技术观察】11月下期〡HERE推出业内首个SDV成熟度框架;博世牵头ConnRAD项目,推动互联自动驾驶的安全韧性提升;日本研发碳电极,实现1Wh级叠层锂空气电池稳定运行

图片来源: 期刊《Nature Photonics》

芯片工作在45GHz、10GHz带宽,可支持测距、测速与ISAR成像,并具备大规模量产潜力,将在6G的高精度感知与通信融合中发挥关键作用。

盖世点评:用光子技术突破毫米波雷达分辨率与体积瓶颈。

新能源

Molex推出eHV60高压汽车连接器 提升电动汽车高压系统的连接可靠性

Molex发布eHV60高压汽车连接器,面向电动与插混车型的辅助和主高压系统,为DC/DC转换器、车载充电器、电动压缩机等提供紧凑、安全的高压连接方案。产品延续Molex在连接器生态的布局,带来更高的供应灵活性。

【全球汽车新技术观察】11月下期〡HERE推出业内首个SDV成熟度框架;博世牵头ConnRAD项目,推动互联自动驾驶的安全韧性提升;日本研发碳电极,实现1Wh级叠层锂空气电池稳定运行

图片来源: Molex

该产品符合USCAR-2与LV215标准,可作为现有产品的直接替代件,帮助OEM快速集成。其体积缩小30%,支持最高1000V、64A的高压工作范围,并具备有效的电磁屏蔽性能,可满足空间紧凑场景的部署需求。

盖世点评:eHV60以小型化和高可靠性满足了电动平台的高压连接升级需求。

Wallbox推出Supernova PowerRing 快充系统提升充电站整体能效

Wallbox推出Supernova PowerRing,可为单车提供最高400 kW充电功率,系统整体共享容量可达720 kW,以模块化方式在有限占地内提升快充站的供能能力。多个Supernova单元可智能共享能量,减少闲置功率。

【全球汽车新技术观察】11月下期〡HERE推出业内首个SDV成熟度框架;博世牵头ConnRAD项目,推动互联自动驾驶的安全韧性提升;日本研发碳电极,实现1Wh级叠层锂空气电池稳定运行

图片来源: Wallbox

系统支持240至720 kW的多级扩展,并能在实际运营中根据车辆需求动态分配功率。未来还将加入更灵活的共享模式和跨站点能量调度功能,进一步提升运营效率。

盖世点评:PowerRing通过模块化和电力共享,解决了高功率快充在场地与成本上的现实难题。

英飞凌推出PSOC™ 4 HVPA-SPM 1.0 微控制器 强化智能电池管理能力

英飞凌发布PSOC 4 HVPA-SPM 1.0微控制器,面向高压电池系统提供精准监测、安全性和边缘处理能力,并符合ASIL D标准。其可定制化架构满足车企对SDV时代电池管理的灵活部署需求。

通过与Munich Electrification合作,该芯片可与智能BMS软件结合,实现更高效的电池状态估算与系统优化,帮助车企降低研发成本并加快量产节奏。

盖世点评:这款MCU把电池管理从“测量”提升到“智能”,贴合未来区域架构的发展方向。

韦仕敦大学发明新固态钠电池

韦仕敦大学团队研发出一种新型固态钠电池材料,旨在解决现有电池昂贵、易燃、依赖稀有金属等痛点。研究人员通过以固体材料取代液态电解质,提升安全性,并利用更丰富的钠资源降低成本。

新材料中加入硫和氯,可提升钠离子在固体中的传输效率,并具备更好的机械与热稳定性,在多次充放电循环中保持结构稳定。研究团队还利用强大的X射线工具观察离子路径,为后续材料优化提供依据。

盖世点评:固态钠电池让“安全、低成本、长寿命”具备现实可能。

布朗大学提出钠离子电池负极设计新规范

布朗大学分析钠在硬碳材料孔隙中的行为,揭示了钠在孔壁离子键吸附与孔中心金属簇形式共存的机制,并提出最佳孔径约为1纳米。

这些研究成果为钠电负极材料的可控设计提供了具体方向,有助于提升能量密度与循环稳定性,加速钠电在储能领域的应用潜力。

盖世点评:明确孔径与储存机制,为钠电商业化提供更可落地的设计指南。

POSTECH开发分子工程膜,有望防止电动车电池爆炸

POSTECH团队提出分子工程膜技术,通过在隔膜上接枝特定官能团,让隔膜能同时稳定正负极,抑制枝晶生长并减少有害物质产生。

【全球汽车新技术观察】11月下期〡HERE推出业内首个SDV成熟度框架;博世牵头ConnRAD项目,推动互联自动驾驶的安全韧性提升;日本研发碳电极,实现1Wh级叠层锂空气电池稳定运行

图片来源: 期刊《Energy & Environmental Science》

该隔膜在模拟电动车使用环境下表现稳定,使电池寿命延长一倍以上,并实现更高能量密度。其优势在于可融入现有锂电制造流程,便于实际落地。

盖世点评:分子级隔膜创新,为下一代高能电池补上安全关键点。

日本研发碳电极 助力1Wh级叠层锂空气电池突破

日本NIMS与东洋炭素联合开发出新型碳电极,使1Wh级叠层锂空气电池能够实现稳定运行。团队将多孔碳材料与自支撑碳膜技术结合,在兼顾体积放大的同时提升了输出功率与寿命。

新电极拥有可控多孔结构和更高结晶度,因此在放大至4cm×4cm尺寸后仍保持良好性能,为锂空气电池迈向实用化奠定基础。该技术有望推动轻量化、高能量密度电池在电动飞机与电动车中的应用。

盖世点评:突破在于同时解决功率、寿命与可扩展性三大难题。

Hydrohertz推出Dectravalve技术 将快充时间缩短至10分钟

英国Hydrohertz推出Dectravalve热管理系统,可对电池组内部不同模块分别加热或冷却,让所有电芯保持在更一致的最佳温度区间。

【全球汽车新技术观察】11月下期〡HERE推出业内首个SDV成熟度框架;博世牵头ConnRAD项目,推动互联自动驾驶的安全韧性提升;日本研发碳电极,实现1Wh级叠层锂空气电池稳定运行

图片来源: Hydrohertz

实测显示,在350kW快充条件下,该系统可把100kWh电池的峰值温度压低至45°C,并将温差控制在6°C,使快充时间缩短约68%,兼顾续航、安全与寿命。

盖世点评:亮点是模块级控温带来的快充效率提升。

MIT-WPU开发电动汽车电池混合冷却系统 提升耐热安全性

印度MIT-WPU研究团队研发获得专利的电池混合冷却系统,结合热管与纳米流体,通过被动方式提升电池散热能力,尤其面向高温环境下的安全性需求。

【全球汽车新技术观察】11月下期〡HERE推出业内首个SDV成熟度框架;博世牵头ConnRAD项目,推动互联自动驾驶的安全韧性提升;日本研发碳电极,实现1Wh级叠层锂空气电池稳定运行

图片来源: MIT-WPU

该系统无需泵等主动部件,可降低能量消耗并提升可靠性。研究者表示,技术能应对印度等高温市场电池起火风险,有助于电动汽车更安全运行。

盖世点评:关键是用被动方式降低高温环境下的电池风险。

智能制造及新材料

多伦多大学开发新型轻质金属复合材料 可在500°C保持高强度

多伦多大学设计出一种由金属合金与纳米析出物构成的轻质复合材料,即使在500°C高温下仍保持强度,其结构类似于微尺度钢筋混凝土。材料适用于高温要求严苛的航空航天场景。

【全球汽车新技术观察】11月下期〡HERE推出业内首个SDV成熟度框架;博世牵头ConnRAD项目,推动互联自动驾驶的安全韧性提升;日本研发碳电极,实现1Wh级叠层锂空气电池稳定运行

图片来源: 期刊《Nature Communications》

研究团队通过增材制造构建钛合金网格,并以铝基材料填充,形成高强度轻质结构。测试显示材料在室温与高温下均保持远超传统铝材的性能,且具备其独特的变形机制。

盖世点评:新材料在轻量化与耐高温性能间取得突破,对高性能装备领域价值显著。

莱斯大学发明两步闪蒸焦耳加热法回收电池材料

莱斯大学提出FJH-ClO(两步闪蒸焦耳加热)工艺,可在无需酸浸条件下快速分离废旧电池中的锂、钴和石墨。整个流程利用短暂的加热与空气循环,显著减少能耗与化学品使用。

测试显示该技术可高效回收关键材料并保持高纯度,成本低且环境负担小。团队计划通过初创公司推进规模化应用,为未来电池供应链提供更可持续的回收方式。

盖世点评:无酸快速回收路线,为电池循环利用提供更环保的可行路径。

马自达申请新碳纤维生产工艺专利,为主流车型降本

马自达公布一项简化碳纤维树脂浸渍的新工艺,通过连续折叠与压合流程,使树脂更高效地进入片材内部,从而减少切割与堆叠步骤。该方法有望降低碳纤维制造成本。

更轻的碳纤维结构可帮助车辆提升动力响应与能耗表现,同时确保安全性不下降。马自达表示,这项工艺未来有望用于价格更亲民的车型,扩大轻量化材料的适用范围。

盖世点评:若成本成功下降,碳纤维有望真正走向大众市场。

3DXTECH推出阻燃聚碳酸酯材料 服务高压电动汽车系统

3DXTECH在其3DXLabs平台推出新型阻燃聚碳酸酯FR-PC,满足UL94 V-0与IEC60112 CTI 600标准,可用于高压电气系统外壳、连接器等需要耐热与可靠性的部件。

【全球汽车新技术观察】11月下期〡HERE推出业内首个SDV成熟度框架;博世牵头ConnRAD项目,推动互联自动驾驶的安全韧性提升;日本研发碳电极,实现1Wh级叠层锂空气电池稳定运行

图片来源: 3DXTECH

材料在高温下仍保持尺寸稳定,并为增材制造提供更可靠选择。3DXLabs计划让工程师参与材料测试与反馈,用于优化最终产业化版本。

盖世点评:重点是为高压部件提供更耐热、更安全的材料替代。

UNIST提出可拉伸聚合物电解质 有望提升固态电池寿命

UNIST团队通过单轴拉伸方式改变聚合物链排列,使固态聚合物电解质形成更连续的离子传输通道,同时加入陶瓷粉末提升安全性与机械性能。

测试显示,新电解质可显著提升离子扩散速率,使锂金属电池在200次循环后保持更高容量,并具备更好的阻燃性。研究者认为该方法有望加速固态电池商业化。

盖世点评:通过物理拉伸改善固态电解质性能是最大创新点。

AI及跨界技术

EPFL研发可食用气动电池驱动的软体机器人

瑞士EPFL研究人员利用柠檬酸与小苏打反应产生气体,打造完全可食用的气动电池、阀门与执行器,使软体机器人无需传统电池即可自主运动。

【全球汽车新技术观察】11月下期〡HERE推出业内首个SDV成熟度框架;博世牵头ConnRAD项目,推动互联自动驾驶的安全韧性提升;日本研发碳电极,实现1Wh级叠层锂空气电池稳定运行

图片来源: 期刊《Advanced Science》

系统通过明胶结构储气、弯曲并循环驱动,实现可编程的重复动作,可用于环境监测或动物疫苗投放等场景,任务结束后能完全降解。

盖世点评:用可食用材料解决软体机器人“无毒供能”的长期难题。

卡内基梅隆大学开发触觉传感器让机器人能背负货物前进

卡内基梅隆大学开发LocoTouch触觉阵列,覆盖在四足机器人背部,可感知未固定物体的移动与压力变化,使机器人在运输过程中保持物体平衡。

结合数字孪生和强化学习,机器人能在真实场景中稳定运送不同形状物体,跨越障碍并抵抗外界干扰,为家庭服务、工业搬运与户外探测提供新思路。

盖世点评:传感反馈让机器人真正具备“背东西走路”的能力。

中美团队研发依靠环境热量运动的软体机器人

中美研究团队设计出受沙门氏菌启发的软体机器人,利用一种新型PDMS弹性材料,将微弱的环境热量转化为连续的机械运动,无需电池或外部供能。

该系统能在2°C温差下持续振荡,并已在30°C–100°C的热面上稳定运行数千次。研究团队认为,可应用于无需电池的环境监测及潜在的生物医学穿行场景。

盖世点评:亮点在于用极小能量实现连续动作。