智元机器人推出Genie Sim 3.0开源仿真平台,通过五大核心创新实现具身智能研发效率跃升,覆盖场景生成、数据采集与工业落地,加速算法从实验室到真实应用的转化。

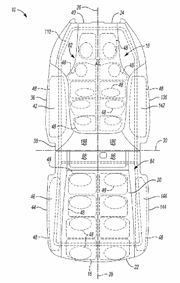
通用汽车最新专利通过气压气囊与泡沫材料结合,实现座椅自动调节以提升个性化舒适度。该系统可优化人体工学支撑,满足不同驾乘需求,推动智能座舱技术革新。

东盟电动车市场快速增长,越南VinFast领跑,中国车企加速布局,但供应链割裂与基础设施不均成为主要挑战,未来需协同合作以实现可持续发展。

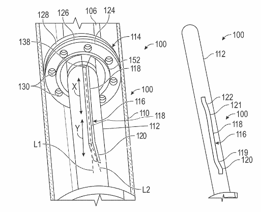
通用汽车最新专利展示机械调节减震器设计,通过导杆导向槽结构实现悬架特性自适应调整,创新技术由印度工程师团队研发,提升复杂路况驾驶体验。

因克斯在CES展会上展示人形机器人关键零部件,涵盖高精度灵巧手、轻量化关节模组及通用电池方案,通过规模化量产推动核心部件标准化,助力人形机器人商业化进程。
