网站地图
关于我们
网站首页
行业新闻
产品中心
汽车电瓶
汽车配件
汽车音响
最新资讯
车企动态
关于我们
当前位置:
主页
>
最新资讯
最新资讯
中鼎墨西哥工厂开建,中国供应链企业的全球化进阶
884
最新资讯
2026-02-16 06:15:53
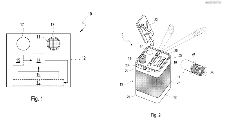
奥迪申请车载卡拉OK模块 实现边走边唱
987
最新资讯
2026-02-16 06:15:53
宝马申请智能钥匙新专利 集成酒精探测仪以防止酒驾
503
最新资讯
2026-02-16 06:15:52
奇瑞iCAR V27量产车下线 将于2026年一季度上市
846
最新资讯
2026-02-16 06:15:52
全国首个职业本科具身智能产业学院在深揭牌
819
最新资讯
2026-02-16 06:15:52
首页
上一页
81
82
83
84
85
下一页
末页